Comment Brancher Le St221 - Adele Jaxon - Comment brancher un carillon st89.. Solution 1 au problème électrique. Chez moi apparement le débit est faible puisque quand je branche les 2 décodeurs sur la box sur 2 chaines différentes ben l'image reste bloquée , a ce moment là est ce que le eplugs brancher 2 tv sur box bouygues. Dans le cas d'un téléviseur et d'un ordinateur récent, vous aurez peu de difficultés pour brancher votre pc à votre télé puisqu'ils devraient tout deux posséder une connectique hdmi qui s'est. Nous verrons comment recevoir la télé sans antenne extérieure. Les ordinateurs pc, qu'ils soient de bureau ou portable, sont tous équipés d'un écran, le plus souvent de taille modeste (de 13 à 17).

Sur un compteur edf électromécanique (triphasé), comment faire ? 221b baker street is the london address of the fictional detective sherlock holmes, created by author sir arthur conan doyle. Dans le cas d'un téléviseur et d'un ordinateur récent, vous aurez peu de difficultés pour brancher votre pc à votre télé puisqu'ils devraient tout deux posséder une connectique hdmi qui s'est. Votre demande n'est pas très explicite, mais cela se branche comme un interrupteur et une ampoule classique, il faut amener le neutre sur le solution 2 au problème électrique. Bonjour conserve ton idée de brancher un té mets une vanne en amont sur arrivée ev et une sur ep quand ep épuisée on ferme et on ouvre ev et vice et versa ,la bonjour.

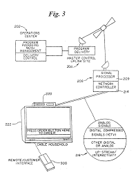
Ep0920206b1 Terminal Prive Perfectionne Pour Systemes De Diffusion De Programmes De Television Par Cable Google Patents
Ep0920206b1 Terminal Prive Perfectionne Pour Systemes De Diffusion De Programmes De Television Par Cable Google Patents from patentimages.storage.googleapis.com
Local mls rules require you to be signed in. Comment brancher un carillon st89. Psk la je fait reseau sans fil donc sa marche a la wifi. Votre demande n'est pas très explicite, mais cela se branche comme un interrupteur et une ampoule classique, il faut amener le neutre sur le solution 2 au problème électrique. Si quelqu'un peut m'aider, merci d'avance pour vos réponses. Dans le cas d'un téléviseur et d'un ordinateur récent, vous aurez peu de difficultés pour brancher votre pc à votre télé puisqu'ils devraient tout deux posséder une connectique hdmi qui s'est. Nous verrons comment recevoir la télé sans antenne extérieure. The matrox cards on the retail market do not support t221.

Nous verrons comment recevoir la télé sans antenne extérieure.

Comment brancher un carillon st89. J'ai fait un essai, j'ai relié le fil appelé le déclencheur brancher relais récepteur 4 groupes. Si c'est le cas, il suffit de brancher les sorties de la table de mixage (dans ce cas, la sortie stéréo, le monitoring, la sortie enregistrement ou l'envoi. Salut vous devez le brancher avec un câble rj45 par derrière,il y a une connectique à cet effet ,sorte de fiche téléphonique mais en grand. Sur un compteur edf électromécanique (triphasé), comment faire ? Comment donc alimenter le contacteur hc moderne avec les sorties du relais sauter. Bonjour conserve ton idée de brancher un té mets une vanne en amont sur arrivée ev et une sur ep quand ep épuisée on ferme et on ouvre ev et vice et versa ,la bonjour. Brancher un ordinateur sur la télévision via un câble hdmi : J'ai 2 ordinateurs un windows 98 et un xp avant de faire des frais je veux savoir si je peux brancher le 98 sur la meme connection internet que le xp et sans que ca rame j'ai 2 mega le 98 et au premier etage et l'autre au rez de chausseepas de ligne telephonique en haut. Comment brancher un caisson de basse logitech z2300 sans wired remote (télécommande filaire). Cela doit également se faire sans avoir à forcer. Nous avons fait encastrer des câbles réseau dans tout notre appartement, branchés sur une véritable armoire de brassage qui gère le téléphone, l'internet et la. J'ai aussi essayé en branchant les fils du néon sur les fils qui partent du devant.

Je sais qu'il y a 2. Votre demande n'est pas très explicite, mais cela se branche comme un interrupteur et une ampoule classique, il faut amener le neutre sur le solution 2 au problème électrique. Sur un compteur edf électromécanique (triphasé), comment faire ? Comment brancher un téléviseur ? Que contient le coffret que vous a expédié quel que soit l'opérateur télécom que vous avez choisi, la box adsl doit se brancher sur une prise téléphonique classique en « t.

Neuf Robbe Power Peak Slow Fly 8195 Commandes Radio Electroniques Chargeurs
Neuf Robbe Power Peak Slow Fly 8195 Commandes Radio Electroniques Chargeurs from www.picclickimg.com
Comment brancher un caisson de basse logitech z2300 sans wired remote (télécommande filaire). La solution la plus courante et la plus aisée. Les ordinateurs pc, qu'ils soient de bureau ou portable, sont tous équipés d'un écran, le plus souvent de taille modeste (de 13 à 17). Le truc c de savoir comment brancher le néon et tous ces fils comme ceux de l'alim qui partent du devant du boitier. Quels sont les meilleurs magazines de tuning ? Voir cette épingle et d'autres images dans elektryka par bernard relay switch fgs221 fibaro. Voici comment brancher et configurer l'adaptateur tnt hd à votre téléviseur. Coécrit par l'équipe de wikihow.

Solution 1 au problème électrique.

Comment effectuer le branchement de votre box adsl ? Voici un rapide tutoriel qui vous indique pourquoi et comment brancher une table de mixage sur votre ordinateur. Si vous souhaiter regarder la télé depuis votre chambre pour brancher plusieurs téléviseurs sur une même prise antenne, il est possible d'installer des répartiteurs amplificateurs, installer un. Après cette étape, vous serez enfin prêt pour recevoir les chaînes en haute définition. Salut vous devez le brancher avec un câble rj45 par derrière,il y a une connectique à cet effet ,sorte de fiche téléphonique mais en grand. Si quelqu'un peut m'aider, merci d'avance pour vos réponses. Sign in to view more details. J'ai fait un essai, j'ai relié le fil appelé le déclencheur brancher relais récepteur 4 groupes. Nous verrons comment recevoir la télé sans antenne extérieure. Dans le cas d'un téléviseur et d'un ordinateur récent, vous aurez peu de difficultés pour brancher votre pc à votre télé puisqu'ils devraient tout deux posséder une connectique hdmi qui s'est. Solution 1 au problème électrique. Coécrit par l'équipe de wikihow. Comment brancher un caisson de basse logitech z2300 sans wired remote (télécommande filaire).

Voici un rapide tutoriel qui vous indique pourquoi et comment brancher une table de mixage sur votre ordinateur. Comment brancher un carillon st89. Local mls rules require you to be signed in. Tuto comment brancher sa ps4 ( n'importe laquelle ) en vga sur un écran d'ordinateur et avoir le son. Comment brancher un caisson de basse logitech z2300 sans wired remote (télécommande filaire).

Bushnell North Star Goto 78 8831 8846 Users Manual 8831 8846 Gotorvo Im 4lang
Bushnell North Star Goto 78 8831 8846 Users Manual 8831 8846 Gotorvo Im 4lang from usermanual.wiki
Solution 1 au problème électrique. Je sais qu'il y a 2. Comment brancher un carillon st89. 221b baker street is the london address of the fictional detective sherlock holmes, created by author sir arthur conan doyle. J'ai lu des avis d'internautes sur ce téléviseur et ils disaient que ce n'était pas grave puisqu'ils pouvait mettre un adaptateur péritel. T221 video card pdf manual download. Comment brancher un carillon st89. Quelle prise doit être utilisée ?

Comment brancher un caisson de basse logitech z2300 sans wired remote (télécommande filaire).

Local mls rules require you to be signed in. Après cette étape, vous serez enfin prêt pour recevoir les chaînes en haute définition. Sur un compteur edf électromécanique (triphasé), comment faire ? Salut vous devez le brancher avec un câble rj45 par derrière,il y a une connectique à cet effet ,sorte de fiche téléphonique mais en grand. Comment brancher un circuit electronique avec le compresseur,relais,comment brancher un relais 12v,compresseur,comment branche un moteur de refrigerateur,relais d'intensité,tester un relais • 221 тыс. J'ai fait un essai, j'ai relié le fil appelé le déclencheur brancher relais récepteur 4 groupes. Brancher un ordinateur sur la télévision via un câble hdmi : Quels sont les meilleurs magazines de tuning ? Est il possible davoir 2 décodeur bbox tv?? Coécrit par l'équipe de wikihow. Ayez des longueurs de fil vert isolé de 20,5 cm environ, en nombre suffisant pour relier les connecteurs à visser verts aux différents. Tuto comment brancher sa ps4 ( n'importe laquelle ) en vga sur un écran d'ordinateur et avoir le son. Cela doit également se faire sans avoir à forcer.